SG-N1300混凝土排水管内压测试仪

一、功能介绍
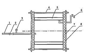
排水管压力试验机是依据国家标准《混凝土和钢筋混凝土排水管》(GB/T 11836-99)、《混凝土和钢筋混凝土排水管试验方法》(GB/T 16752-2010)的规定而研制的,采用卧式结构,主要适用于混凝土、钢筋混凝土排水管的内压试验。
二、国标试验方法示意图
试验要求及目的与要求:
通过排水管内压测试,观察并记录实测结果,对比标准要求,判定所测排水管是否合格。
国标要求截图:
- 仪器设计严格遵守国家标准,试验示值精确,是各质检部门的首选产品;
- 结构稳定,设计合理,试验量程及管径灵活定制;
|
1 |
适用排水管的最大内径 |
100----Φ1300mm |
|
2 |
压力测试范围 |
0-0.2Mpa |
|
3 |
适用长度 |
100----2000mm |
|
4 |
控压精度 |
试验压力值上限+2%,下限-1% |
|
5 |
压力表分辨率 |
0.005MPa |
|
6 |
压力传感器 |
试验压力采集频率1HZ |
|
7 |
试验介质 |
水 |
|
8 |
压力控制方式 |
电接点压力表 |
|
9 |
加水方式 |
扬程>16m的抽水机 |
|
10 |
结构组成 |
加紧机构,底部支撑机构,注水机构 |
一、验收、安装、调试及培训
本设备需现场安装
1、验收:验收标准:按使用说明书及协议书作为验收依据。
2、安装调试:设备到达后,订货方在供方指导下完成安装就位,调试由供方负责。
3、人员培训:在预验收后,供货方负责对订货方人员进行技术培训,做到培训者能掌握试验机操作、调整和基本故障排除。
二、质量保证
设备在订货方正式验收合格后,视为正式交货。设备质保期为正式交货之日起一年。在质保期内,供货方对设备出现的各类故障及时免费维修服务。对非人为造成的各类零件损坏,及时免费更换。保修期外设备在使用过程中发生故障,供货方及时到订货方服务,积极协助订货方完成维修任务。
三、现 场 试 验
试验过程简述:
首先检查排水管内压测试仪器两端堵头是否平行,其中心线是否重合;将养护好的排水管的表面水渍擦掉,并将管子两头清理干净,使管子轴线与堵头中心对正,将堵头锁紧;管内充水直至其内部空气排空,关闭排气阀,开始用加压泵加压,按标准数值进行加压测试,试验过程中仪器会自动记录分析试验数据。

(现场1)
(现场2)