产品中心 Product Center
HB 5277-1984 发动机叶片及材料振动疲劳试验方法
高频疲劳试验机
一、产品介绍:
发动机叶片及材料振动疲劳试验机适用于发动机叶片及材料在承受振动应力下的疲劳性能试验。航空发动机研制、生产中,叶片等易损件需要进行大量的疲劳性能考核试验,由振动载荷引起的材料疲劳问题是制约航空发动机高可靠性、长寿命服役的关键问题,长期以来一直困扰我国航空发动机的研制生产和安全使用。因此提高叶片的安全可靠性尤为重要。
二、主要参数:
工作频率 | 20KHz±1KHz | 使用功率 | 2000W |
频率分辨率 | 1Hz | 波形失真度 | <1%(20KHz正弦波) |
输出振幅 | ±10~±75μm | 精度 | ≥0.01mm |
线性度 | >99% | 工作模式 | 连续或间断工作 |
三、关于试验:
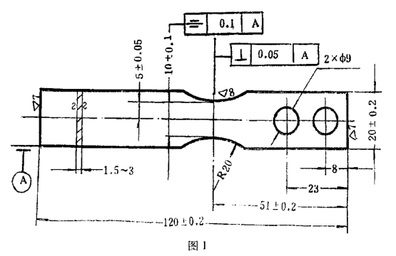
1、试样:板材试样形状和尺寸见图一
2、试样准备:
2.1叶片试验件选择压气机叶片、涡轮叶片或其他非航空用叶片。
2.2试样经热处理后再试验。
3、试验设备要求:
3.1该设备读数精度不得低于0.01mm
3.2该试验装置应保证叶尖振幅在整个试验过程中的变化不大于±2%
3.3振动试验设备安装在隔音室,要求分贝不得超过85
3.4进行高温振动疲劳试验,有以下要求:
4、试验方案的确定:

5、数据处理

四、质量保证
设备在订货方正式验收合格后,视为正式交货。设备三包期为正式交货之日起一年。在三包期内,供货方对设备出现的各类故障及时免费维修服务。对非人为造成的各类零件损坏,及时免费更换。保修期外设备在使用过程中发生故障,供货方及时到订货方服务,积极协助订货方完成维修任务,对用户的询问2-4小时有答复,需派人员到现场的48内小时到达。
服务宗旨:质保一年,终生服务。
服务承诺:如机器出现故障,8小时内给与电话答复。
